新闻资讯
拍卖成功!河南省 郑州市一个155联通手机尾号为44444的使用权,你会买吗?

拍卖成功!一个联通155XXX44444手机号码,在淘宝阿里司法拍卖平台拍卖成交。
成交时间:2020/05/07 10:07:263次延时
参与人数:11 人报名200 人设置提醒5605 次围观

一、拍卖标的:
逯某名下155XXX44444手机号码。
1.该卡号后5位为5个4连号,数字排列较为通顺,寓意较好,市场较为紧俏;
2.根据委托方提供的号码查询套餐信息显示:该号码卡类型为暢越全国冰激凌套餐-78元档(资费78元/月,包含400分钟国内语音,国内接听免费,赠送来电显示;套餐外拨打0.15元/分钟,国内短信0.1元/条)无低消。
3.起拍价3.51万元,保证金:3000元,增价幅度:500元。
4.评估基准日:2020年01月15日。

处置单位:杞县人民法院
标的物名称:155XXX44444手机号码
网拍公告时间:2020/04/15 16:27:54
网拍开始时间:2020/05/06 10:00:00
网拍结束时间:2020/05/07 10:07:26

二、网络拍卖竞价结果
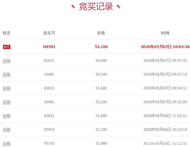
用户姓名邢某通过竞买号U0581于2020年05月07日在杞县人民法院于阿里拍卖平台开展的“155XXX44444手机号码”项目公开竞价中,以最高应价胜出。
该标的网络拍卖成交价格:55100(伍万伍仟壹佰元)

在网络拍卖中竞买成功的用户,必须依照标的物《竞买须知》、《竞买公告》要求,按时交付标的物网拍成交余款、办理相关手续。
标的物最终成交以杞县人民法院出具拍卖成交裁定为准。
如果你有不同的看法,欢迎评论留言,你的观点对我很重要。如果喜欢我,就关注我吧
- 头条资讯
- 联通手机尾号
-
深圳移动FTTR套餐有哪些优势和弊端2025-02-26关键词: 深圳移动FTTR套餐 阅读(1220)
-
深圳联通FTTR套餐有哪些优势和弊端2025-02-26关键词: 深圳联通FTTR套餐 阅读(1125)
-
深圳电信FTTR套餐有哪些优势和弊端2025-02-26关键词: 深圳电信FTTR套餐 阅读(884)
-
北京电信FTTR宽带2025-02-13关键词: 阅读(580)
-
情人节送什么礼物好,来个手机靓号给Ta个惊喜2025-02-13关键词: 阅读(1845)
-
电信优享版49元套餐资费详情2025-02-13关键词: 电信新星卡 电信19元流量卡套餐 阅读(1942)
-
联通卡19元无限流量卡,真的有吗?2024-11-14关键词: 联通卡19元无限流量卡 阅读(9715)
-
如何查询手机号归属地-(在线查询)2024-11-08关键词: 阅读(3557)
-
2024北京电信宽带套餐价格表 北京电信宽带套餐价格表2024年2024-11-08关键词: 北京电信宽带 电信宽带办理电话 电信宽带套餐2024 阅读(12540)
-
哪个网站可以查手机运营商名称以及归属地2024-11-08关键词: 阅读(2322)
