新闻资讯
河南省 许昌市一个158移动手机尾号为88888的使用权,拍卖成功!你觉得值吗?
拍卖成功!一个移动手机号码158XXX88888的使用权,在淘宝阿里司法拍卖平台拍卖成交。
成交时间: 2020/05/31 10:24:0659次延时
参与人数:18 人报名350 人设置提醒11921 次围观

一、拍卖标的:
一个移动手机号码158XXX88888的使用权。评估价138000,起拍价:96600元 保证金:10000元,增加幅度:1000.00元(以及其整倍数)。

处置单位:鄢陵县人民法院
标的物名称:一个移动手机号码158XXX88888的使用权
网拍公告时间:2020/04/27 14:30:06
网拍开始时间:2020/05/30 10:00:00
网拍结束时间:2020/05/31 10:24:06

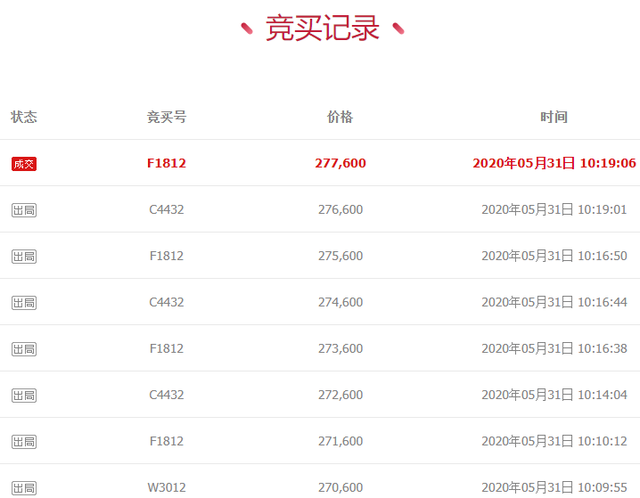
二、网络拍卖竞价结果:
用户姓名郑某某通过竞买号F1812于2020年05月31日在鄢陵县人民法院于阿里拍卖平台开展的“一个移动手机号码158XXX88888的使用权”项目公开竞价中,以最高应价胜出。
该标的网络拍卖成交价格:277600(贰拾柒万柒仟陆佰元)

在网络拍卖中竞买成功的用户,必须依照标的物《竞买须知》、《竞买公告》要求,按时交付标的物网拍成交余款、办理相关手续。
标的物最终成交以鄢陵县人民法院出具拍卖成交裁定为准。
- 头条资讯
- 手机号
- 手机尾号
-
深圳移动FTTR套餐有哪些优势和弊端2025-02-26关键词: 深圳移动FTTR套餐 阅读(1190)
-
深圳联通FTTR套餐有哪些优势和弊端2025-02-26关键词: 深圳联通FTTR套餐 阅读(1097)
-
深圳电信FTTR套餐有哪些优势和弊端2025-02-26关键词: 深圳电信FTTR套餐 阅读(848)
-
北京电信FTTR宽带2025-02-13关键词: 阅读(556)
-
情人节送什么礼物好,来个手机靓号给Ta个惊喜2025-02-13关键词: 阅读(1791)
-
电信优享版49元套餐资费详情2025-02-13关键词: 电信新星卡 电信19元流量卡套餐 阅读(1907)
-
联通卡19元无限流量卡,真的有吗?2024-11-14关键词: 联通卡19元无限流量卡 阅读(9685)
-
如何查询手机号归属地-(在线查询)2024-11-08关键词: 阅读(3536)
-
2024北京电信宽带套餐价格表 北京电信宽带套餐价格表2024年2024-11-08关键词: 北京电信宽带 电信宽带办理电话 电信宽带套餐2024 阅读(12502)
-
哪个网站可以查手机运营商名称以及归属地2024-11-08关键词: 阅读(2292)
